Qingdao Ruichen Sealing Technology Co., Ltd.
Qingdao Ruichen Sealing Technology Co., Ltd.
Produkter
X

TC Oljepakninger

Roterende aksel-leppetetninger, vanligvis kjent som oljetetninger, er installert i lagerhuset og beveger seg i forhold til den roterende akselen. Et metallskjelett gir støtte, og en fjær påfører radiell forspenning på tetningsleppen for å forhindre lekkasje av smøremiddel og inntrenging av eksterne forurensninger.

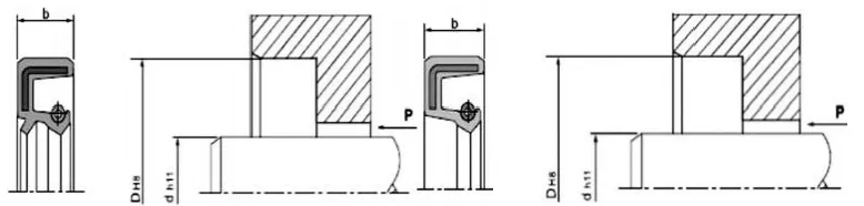
Installasjonsstruktur og krav

1. Skaftmateriale: Vanligvis brukt er karbonstål og rustfritt stål. For høye hastigheter påføres forkromning på overflaten, HRC40-45.

2. Utforming av roterende aksel og spor: Skaftoverflaten skal være glatt og fri for grader. Spiralbearbeidingsmerker kan skape en pumpeeffekt som fører til lekkasje. Det anbefales at monteringsområdet for oljetetningen slipes til en overflateruhet på Ra0,1-0,5µm, og blir jevnere med økende hastighet. For enkel installasjon og demontering må akselen og sporene være utformet med avfasninger eller avrundede kanter Se figur 1 og 2.

Tetningshøyde

b

b1(0,85xb)

mm

b2(b+0,3)

mm

r

maks.

7

5.95

7.3

0.5

8

6.80

8.3

0.5

10

8.50

10.3

0.5

12

10.30

12.3

0.7

15

12.75

15.3

0.7

20

17.00

20.3

0.7

Figur 1. Utforming av sporavfasing


d

d3

R

<10

d-1,5

2

10-20

d-2,0

2

20-30

d-2,5

3

30-40

d-3,0

3

40-50

d-3,5

4

50-70

d-4,0

4

70-95

d-4,5

5

95~130

d-5,5

6

130~240

d-7,0

8

240~500

d-11,0

12

500-800

d-14,0

14

800~1250

d-18,0

16

Figur 2 Fasdesign av den roterende akselen


Faktorer som påvirker ytelsen til leppetetninger på roterende aksel 

Det er dusinvis av faktorer som påvirker forseglingseffekten. Foruten selve oljetetningen, som dens materiale og struktur, påvirker andre faktorer som medium, temperatur, trykk, smøring, hastighet og overflateruhet også tetningseffekten direkte, og disse faktorene samhandler ofte med hverandre. Følgende diagrammer er kun for brukerreferanse.

Figur 3. Effekt av temperatur på oljetetning


Installasjon: Omhyggelig montering er en forutsetning for at oljetetninger skal fungere.

Installasjonsskjema (hulromsinstallasjon)

Riktig installasjonsmetode

Gjeldende arbeidsforhold

Feil installasjonsmetode

Denne metoden er kun anvendelig når endeflaten av oljetetningen og hulrommets endeflate er i flukt. Når presseutstyret fungerer raskt, må oljetetningen plasseres riktig; ellers kan feiljustering oppstå.

 

Denne utformingen er egnet for situasjoner der oljetetningens endeflate er lavere enn hulrommets endeflate. Selv med rask pressing kan oljetetningen fortsatt være godt plassert. Imidlertid mangler denne typen fikstur radiell posisjonering, derfor må den aksiale perpendikulariteten til pressanordningens flate plate og trykkaksel oppnå en viss presisjon.

Denne metoden er egnet for situasjoner der oljetetningens endeflate er lavere enn hulrommets endeflate. Når du trykker inn utstyret raskt, er det avgjørende å sikre at oljetetningen er riktig plassert; ellers kan feiljustering oppstå.


 

 


Denne metoden er kun egnet for vedlikehold eller enkle installasjonsforhold der trykkutstyr ikke er tilgjengelig. Fordi absolutt jevn pressing ikke kan oppnås under installasjonen, er ulike installasjonsproblemer uunngåelige. Den er først og fremst utformet for å forhindre radiell forskyvning under installasjonen, som kan deformere oljetetningen, eller for å forhindre skade på gummien til oljetetningsdelen (ytre sirkel) på grunn av pauser under installasjonen. Derfor anbefales vanligvis ikke denne installasjonsmetoden.

 

TC/SC/TB/SB oljetetninger

Begge består av en metallramme, en fjær og en gummikropp. Metallrammen gir støtte, og fjæren påfører tetningsleppen radiell kraft. Både TC- og TB-modeller har en støvtett hjelpeleppe, egnet for bruksområder der den ene siden inneholder tetningsmediet og den andre siden inneholder støv. TB/SB-modeller har en ytre sirkel av metall, noe som gjør oljetetningen sikrere og mer presis inne i hulrommet. Imidlertid er forseglingsevnen til den ytre sirkelen begrenset for lavviskøse og gassformige medier; derfor anbefales det å påføre tetningsmasse på den ytre sirkelen under installasjon og bruk.

Tverrsnittsform

Modell

Søknad

Trykk

Temperatur

Fart

Medium

Materiale

TC

Forsegling, støvtett

0,03 MPa

-30~+160

20m/s

Smøreolje og fett

NBR/FKM + Karbonstål

SC

Forsegling

TB

Forsegling, støvtett

-30~+100

25m/s

Vann, smøreolje, fett

NBR + Karbonstål

SB

Forsegling

Bestillingsmodell TC-d*D*b

Spesifikasjon

Spesifikasjon

Spesifikasjon

Spesifikasjon

Spesifikasjon

Spesifikasjon

Spesifikasjon

TC-6*17*3,5

TC-9*25*7

TC-10*30*7

TC-12*25*10

TC-13*25*7

TC-14*32*8

TC-15*30*7

TC-7*18*7

TC-10*18*7

TC-11*22*7

TC-12*26*7

TC-13*26*7

TC-14*32*10

TC-15*30*8

TC-8*18*7

TC-10*19*7

TC-I1*25*7

TC-12*28*7

TC-13*28*7

TC-14*35*7

TC-15*30*10

TC-8*20*7

TC-10*20*5

TC-11*30*10

TC-12*28*8

TC-13*30*8

TC-14*35*8

TC-15*32*7

TC-8*22*7

TC-10*20*7

TC-12*19*3

TC-12*30*7

TC-14*24*7

TC-14*40*7

TC-15*32*10

TC-8*22*8

TC-10*22*5

TC-12*20*7

TC-12*30*10

TC-14*25*7

TC-15*22*8

TC-15*35*7

TC-8*25*7

TC-10*22*7

TC-12*21*7

TC-12*32*7

TC-14*26*7

TC-15*24*7

TC-15*35*8

TC-8*25*8

TC-10*22*8

TC-12*22*5

TC-12*32*10

TC-14*27*7

TC-15*25*5

TC-15*35*10

TC-8*30*7

TC-10*22*10

TC-12*22,5*5,5

TC-12*35*7

TC-14*28*7

TC-15*25*7

TC-15*38*7

TC-9*16*5

TC-10*24*7

TC-12*22*7

TC-12*35*10

TC-14*28*8

TC-15*25*8

TC-15*38*8

TC-9*18*7

TC-10*25*5

TC-12*22*8

TC-12,7*22,22*5

TC-14*28*10

TC-15*26*7

TC-15*38*10

TC-9*19*7

TC-10*25*7

TC-12*24*6

TC-12,7*25,4*7

TC-14*29*7

TC-15*27*7

TC-15*40*8

TC-9*20*7

TC-10*25*10

TC-12*24*7

TC-12,7*26*8

TC-14*30*7

TC-15*27*8

TC-15*40*10

TC-9*22*7

TC-10*26*7

TC-12*25*7

TC-12,7*30*8

TC-14*30*10

TC-15*28*7

TC-15*42*7

TC-9*24*7

TC-10*28*7

TC-12*25*8

TC-13*23*7

TC-14*32*7

TC-15*28*10

TC-15*42*8

 




Hot Tags: TC Oljepakninger
Send forespørsel
Kontaktinfo
Få konkurransedyktige priser, teknisk støtte og raske svar. Send spesifikasjonene dine til Ruichen for skreddersydde tetningsløsninger. Gratis prøver tilgjengelig.
X
Vi bruker informasjonskapsler for å gi deg en bedre nettleseropplevelse, analysere nettstedstrafikk og tilpasse innhold. Ved å bruke denne siden godtar du vår bruk av informasjonskapsler. Personvernerklæring
Avvis Akseptere