|
Trykk/MPa |
Temperatur / °C |
Hastighet /m/s |
Medium |
|
≤40 |
-35~+100 (med NBR O-ring) |
≤2 |
Hydraulikkolje, emulsjon, vann, gass, etc. |
|
-20~+200 (med FKM O-ring) |
1. Tilgjengelige O-ringmaterialer: R01 Nitril Butadien Rubber (NBR), R02 Fluorrubber (FKM), etc.
2. Tetningsringmaterialer: Standardmaterialer PTFE3 og PTFE4; andre valgfrie materialer inkluderer PTFE1, PTFE2 og PTFE5.
Eksempel på bestilling
Bestillingsmodell RC2052—80x91×4.2—PTFE3—R01 Model-dxDxL- Materialkode
Bestillingsmodell RCX17—80x91×4.2—HPU Model-dxDxL- Materialkode
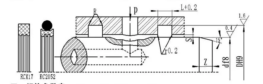
Spesifikasjoner og parametertabell (enhver spesifikasjon innenfor parameterområdet er tilgjengelig)
|
Skaftdiameterområde d f8 |
Grøftens diameter DH9 |
Grøftbredde L+⁰,2 |
Radiell klaring Smax |
Avrundede hjørner Rmax |
Chamfer Zmin |
|
|
0~10Mpa |
10~20Mpa |
|||||
|
6-18 |
d+49 |
2.2 |
0.15 |
0.1 |
0.4 |
2 |
|
19-37 |
d+7,5 |
3.2 |
0.2 |
0.15 |
0.6 |
3 |
|
38~199 |
d+11,0 |
4.2 |
0.25 |
0.2 |
1.0 |
4 |
|
200~255 |
d+15,5 |
6.3 |
0.3 |
0.25 |
1.3 |
5 |
|
256~649 |
d+21,0 |
8.1 |
0.3 |
0.25 |
1.8 |
7 |
|
650~1500 |
d+28,0 |
9.5 |
0.45 |
0.3 |
2.0 |
8 |
Merk: For akseldiametre ≤ 30 mm anbefales åpne spor.
|
d |
D |
L |
d |
D |
L |
d |
D |
L |
d |
D |
L |
|
8 |
12.9 |
2.2 |
48 |
59.0 |
4.2 |
150 |
161.0 |
4.2 |
350 |
371.0 |
8.1 |
|
10 |
14.9 |
2.2 |
50 |
61.0 |
4.2 |
160 |
171.0 |
4.2 |
360 |
381.0 |
8.1 |
|
12 |
16.9 |
2.2 |
55 |
66.0 |
4.2 |
170 |
181.0 |
4.2 |
370 |
391.0 |
8.1 |
|
14 |
18.9 |
2.2 |
60 |
71.0 |
4.2 |
180 |
191.0 |
4.2 |
380 |
401.0 |
8.1 |
|
15 |
19.9 |
2.2 |
63 |
74.0 |
4.2 |
190 |
201.0 |
4.2 |
390 |
411.0 |
8.1 |
|
16 |
20.9 |
2.2 |
65 |
76.0 |
4.2 |
200 |
215.5 |
6.3 |
400 |
421.0 |
8.1 |
|
18 |
22.9 |
2.2 |
70 |
81.0 |
4.2 |
210 |
225.5 |
6.3 |
420 |
441.0 |
8.1 |
|
20 |
27.5 |
3.2 |
75 |
86.0 |
4.2 |
220 |
235.5 |
6.3 |
450 |
471.0 |
8.1 |
|
22 |
29.5 |
3.2 |
80 |
91.0 |
4.2 |
230 |
245.5 |
6.3 |
480 |
501.0 |
8.1 |
|
24 |
31.5 |
3.2 |
85 |
96.0 |
4.2 |
240 |
255.5 |
6.3 |
500 |
521.0 |
8.1 |
|
25 |
32.5 |
3.2 |
90 |
101.0 |
4.2 |
250 |
265.5 |
6.3 |
520 |
541.0 |
8.1 |
|
28 |
35.5 |
3.2 |
95 |
106.0 |
4.2 |
260 |
281.0 |
8.1 |
550 |
571.0 |
8.1 |
|
30 |
37.5 |
3.2 |
100 |
111.0 |
4.2 |
270 |
291.0 |
8.1 |
600 |
621.0 |
8.1 |
|
32 |
39.5 |
3.2 |
105 |
116.0 |
4.2 |
280 |
301.0 |
8.1 |
630 |
651.0 |
8.1 |
|
35 |
42.5 |
3.2 |
110 |
121.0 |
4.2 |
290 |
311.0 |
8.1 |
650 |
678.0 |
8.1 |
|
36 |
43.5 |
3.2 |
115 |
126.0 |
4.2 |
300 |
321.0 |
8.1 |
670 |
698.0 |
9.5 |
|
38 |
49.0 |
4.2 |
120 |
131.0 |
4.2 |
310 |
331.0 |
8.1 |
700 |
728.0 |
9.5 |
|
40 |
51.0 |
4.2 |
125 |
136.0 |
4.2 |
320 |
341.0 |
8.1 |
750 |
778.0 |
9.5 |
|
42 |
53.0 |
4.2 |
130 |
141.0 |
4.2 |
330 |
351.0 |
8.1 |
800 |
828.0 |
9.5 |
|
45 |
56.0 |
4.2 |
140 |
151.0 |
4.2 |
340 |
361.0 |
8.1 |
1000 |
1028.0 |
9.5 |
Merk: Nødvendige spesifikasjoner er ikke oppført her; vennligst kontakt vårt firma. Vi tilbyr produkter med en maksimal diameter på 2800mm.





Allsidig monterings- og bruksanvisning
Rui Chen vet at riktig installasjon er den første forutsetningen for å sikre full ytelse av tetninger, vi vil også gi deg omfattende veiledning om bruken av hvert produkt, spesielt komplekse eller ikke-standard tilpassede deler, det vil være detaljert grafisk installasjonsveiledning.
Disse veiledningene er ledsaget av høyoppløselige trinn-for-trinn-diagrammer og tekstinstruksjoner som tydelig viser inspeksjonspunktene før installasjon, riktige installasjonstrinn, nødvendige verktøy og feil operasjoner som må unngås, som om våre ingeniører var på stedet. I tillegg, for komplekse sammenstillinger eller systemer, lager vi profesjonelle videoveiledninger som lar operatørene dine intuitivt og raskt mestre installasjonsteknikker og forholdsregler gjennom dynamiske demonstrasjoner, noe som reduserer risikoen for tidlig feil på grunn av feil installasjon.
Adresse
No.1 Ruichen Road, Dongliuting Industrial Park, Chengyang-distriktet, Qingdao City, Shandong-provinsen, Kina
Tlf
E-post