|
Trykk/MPa |
Temperatur / °C |
Hastighet /m/s |
Medium |
|
≤40 |
-35~+100 (med matchende NBR O-ringer) |
≤2 |
Hydraulikkolje, emulsjon, vann, gass, etc. |
-20~+200 (med matchende O-ringer FKM) |
1. Egnede O-ringmaterialer inkluderer: R01 Nitril Butadien Rubber (NBR), R02 Fluorrubber (FKM), etc.
2. Tetningsringmaterialer: Standardmaterialer PTFE3 og PTFE4; andre valgfrie materialer inkluderer PTFE1, PTFE2 og PTFE5.
Ruichen har utført uavhengig forskning og utvikling og produksjon fra begynnelsen av råvarer, og har realisert kontrollen over hele produktkjeden.
1. Teknisk plast og komposittmaterialer: Vi tar polytetrafluoretylen (PTFE) som kjernen, fra blanding, sintring til støping, uavhengig produksjon av alle slags fylte modifiserte komposittmaterialer rør og stang, og deretter presisjonsbehandling til tetninger. Dette sikrer stabilitet og tilpasning av materialegenskaper.
2. Høyytelses polyuretan elastomer: Vi starter fra prepolymer støping, produserer uavhengig høykvalitets polyuretan rør og stang materialer, og behandler dem til ulike typer tetninger, som er enestående i slitestyrke, trykk motstand og hydrolyse motstand.
Eksempel på bestilling
Bestillingsmodell RC2054—80×69×4.2—PTFE3—R01 Model-D*d*L- Materialkode Bestillingsmodell RCX18—80×69x4.2—HPU Model-D*d*L- Materialkode
Spesifikasjoner og parametertabell (enhver spesifikasjon innenfor parameterområdet er tilgjengelig)
|
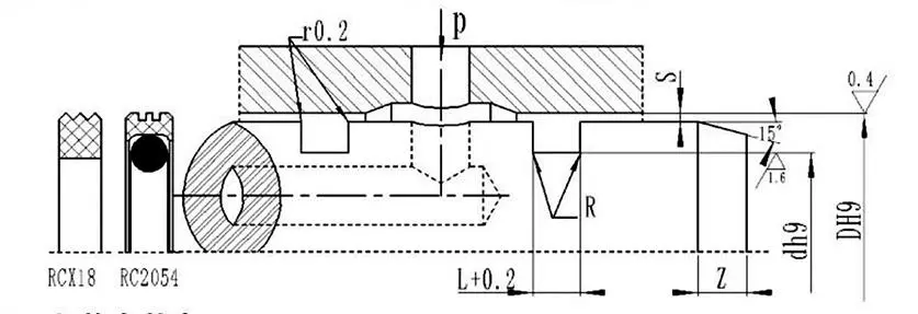
Blenderåpning DH9 |
Grøftens diameter dh9 |
Grøftebredde L+0,2 |
Radiell klaring Smax |
Avrundede hjørner Rmax |
Chamfer Zmin |
|
|
0~10Mpa |
10~20Mpa |
|||||
|
8-39 |
D-4,9 |
2.2 |
0.15 |
0.1 |
0.4 |
2 |
|
40~79 |
D-7,5 |
3.2 |
0.2 |
0.15 |
0.6 |
3 |
|
80~132 |
D-11,0 |
4.2 |
0.25 |
0.2 |
1.0 |
4 |
|
133~329 |
D-15,5 |
6.3 |
0.3 |
0.25 |
1.3 |
5 |
|
330~669 |
D-21,0 |
8.1 |
0.3 |
0.25 |
1.8 |
7 |
|
670~1500 |
D-28,0 |
9.5 |
0.45 |
0.3 |
2.0 |
8 |
|
D |
d |
L |
D |
d |
L |
D |
d |
L |
D |
d |
L |
|
8 |
3.1 |
2.2 |
50 |
42.5 |
3.2 |
170 |
154.5 |
6.3 |
380 |
359.0 |
8.1 |
|
10 |
5.1 |
2.2 |
55 |
47.5 |
3.2 |
180 |
164.5 |
6.3 |
390 |
369.0 |
8.1 |
|
12 |
7.1 |
2.2 |
60 |
52.5 |
3.2 |
190 |
174.5 |
6.3 |
400 |
379.0 |
8.1 |
|
14 |
9.1 |
2.2 |
63 |
55.5 |
3.2 |
200 |
184.5 |
6.3 |
420 |
399.0 |
8.1 |
|
15 |
10.1 |
2.2 |
65 |
57.5 |
3.2 |
210 |
194.5 |
6.3 |
450 |
429.0 |
8.1 |
|
16 |
11.1 |
2.2 |
70 |
62.5 |
3.2 |
220 |
204.5 |
6.3 |
480 |
459.0 |
8.1 |
|
18 |
13.1 |
2.2 |
75 |
67.5 |
3.2 |
230 |
214.5 |
6.3 |
500 |
479.0 |
8.1 |
|
20 |
15.1 |
2.2 |
80 |
69.0 |
4.2 |
240 |
224.5 |
6.3 |
520 |
499.0 |
8.1 |
|
22 |
17.1 |
2.2 |
85 |
74.0 |
4.2 |
250 |
234.5 |
6.3 |
550 |
529.0 |
8.1 |
|
24 |
19.1 |
2.2 |
90 |
79.0 |
4.2 |
260 |
244.5 |
6.3 |
600 |
579.0 |
8.1 |
|
25 |
20.1 |
2.2 |
95 |
84.0 |
4.2 |
270 |
254.5 |
6.3 |
630 |
609.0 |
8.1 |
|
28 |
23.1 |
2.2 |
100 |
89.0 |
4.2 |
280 |
264.5 |
6.3 |
650 |
629.0 |
8.1 |
|
30 |
25.1 |
2.2 |
105 |
94.0 |
4.2 |
290 |
274.5 |
6.3 |
670 |
642.0 |
9.5 |
|
32 |
27.1 |
2.2 |
110 |
99.0 |
4.2 |
300 |
284.5 |
6.3 |
700 |
672.0 |
9.5 |
|
35 |
30.1 |
2.2 |
115 |
104.0 |
4.2 |
310 |
294.5 |
6.3 |
750 |
722.0 |
9.5 |
|
36 |
31.1 |
2.2 |
120 |
109.0 |
4.2 |
320 |
304.5 |
6.3 |
800 |
772.0 |
9.5 |
|
38 |
33.1 |
2.2 |
125 |
114.0 |
4.2 |
330 |
309.0 |
8.1 |
1000 |
972.0 |
9.5 |
|
40 |
32.5 |
3.2 |
130 |
119.0 |
4.2 |
340 |
319.0 |
8.1 |
|
|
|
|
42 |
34.5 |
3.2 |
140 |
124.5 |
6.3 |
350 |
329.0 |
8.1 |
|
|
|
|
45 |
37.5 |
3.2 |
150 |
134.5 |
6.3 |
360 |
339.0 |
8.1 |
|
|
|
|
48 |
40.5 |
3.2 |
160 |
144.5 |
6.3 |
370 |
349.0 |
8.1 |
|
|
|
Merk: Nødvendige spesifikasjoner er ikke oppført her; vennligst kontakt vårt firma. Vi tilbyr produkter med en maksimal diameter på 2800mm.



Adresse
No.1 Ruichen Road, Dongliuting Industrial Park, Chengyang-distriktet, Qingdao City, Shandong-provinsen, Kina
Tlf
E-post