Qingdao Ruichen Sealing Technology Co., Ltd.
Qingdao Ruichen Sealing Technology Co., Ltd.
Produkter
X

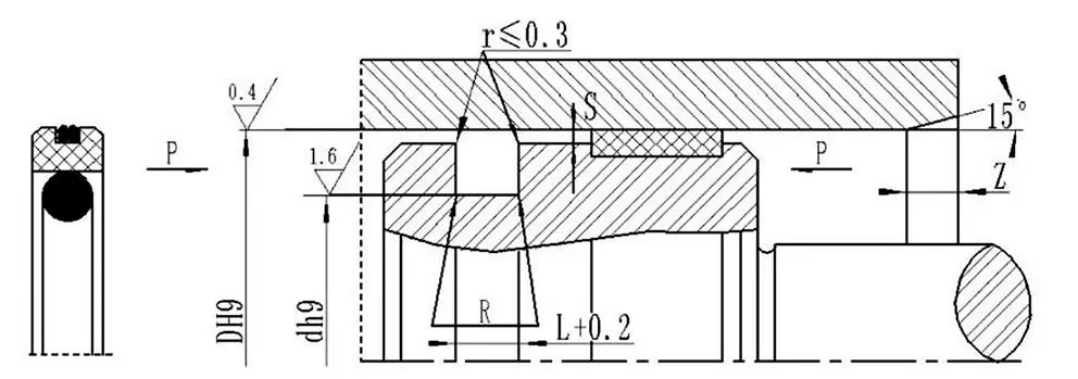
AQ Type PTFE sammensatt tetning

Hvis du er interessert i å kjøpe Ruichen Seals AQ Type PTFE Compound Seal, tilbyr vi svært fleksible materialtilpasningsalternativer: elastomerer kan velges fra en rekke gummier, inkludert NBR og FKM. I tillegg til standard PTFE3 støtter tetningsringene også en rekke tekniske materialer, inkludert PTFE1/PTFE2/PTFE4.

AQ Type PTFE Compound Seal er bredt tilpasset forskjellige medier, temperaturer og arbeidsforhold, noe som forbedrer kompatibiliteten og levetiden til tetningssystemet betydelig.


Gjeldende arbeidsforhold

Trykk Mpa

Temperatur ℃

Hastighet m/s

Medium

≤40

-35~+100 (NBR)

≤2

Hydraulikkolje, emulsjon, vann, gass, etc.

-20~+200 (FKM)


Materialvalg

1. Tilgjengelige elastomermaterialer: R01 nitrilgummi (NBR), RO2 fluorgummi (FKM), etc.

2. Tetningsring Materiale: Standard materiale: PTFE3; andre tilgjengelige materialer: PTFE1, PTFE2 og PTFE4.

Bestillingseksempel AQ080080 x64,5x6,3(DxdxL)PTFE3-RO1 PTFE3 RO1-Materialkode



Hot Tags: AQ Type PTFE sammensatt tetning
Send forespørsel
Kontaktinfo
Få konkurransedyktige priser, teknisk støtte og raske svar. Send spesifikasjonene dine til Ruichen for skreddersydde tetningsløsninger. Gratis prøver tilgjengelig.
X
Vi bruker informasjonskapsler for å gi deg en bedre nettleseropplevelse, analysere nettstedstrafikk og tilpasse innhold. Ved å bruke denne siden godtar du vår bruk av informasjonskapsler. Personvernerklæring
Avvis Akseptere